服务热线:
0571-85230507
EN
首页
关于我们
关于我们
公司简介
资质证书
公司文化
发展历程
产品中心
产品中心
软磁合金粉末材料
电感产品
人才招聘
人才招聘
新闻中心
新闻中心
公司新闻
行业新闻
联系我们
联系我们
新闻中心
新闻中心
公司新闻
行业新闻
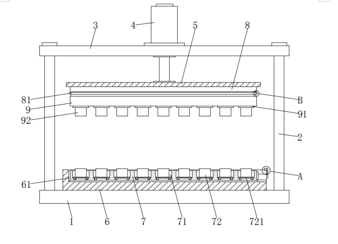
慧磁(杭州)科技有限公司取得多功能压粉磁芯模具专利,使上模组座与下模组座一个批次下完成多种磁芯型号的加工动作
了解详情
慧磁(杭州)科技有限公司成立
了解详情
首页
上页
1
2
3
下页
尾页